A-A-2790

1). Type I. The plastic shall have a glazed finish on both sides. Two sheets
of plastic shall be used for each envelope. The plastic sheets shall be
securely bound together with binding on two sides and one end to form an
open-end envelope. The binding shall be of black color, made of any
commercially acceptable material. Binding shall be sewed to form a minimum 8 mm
(5/16”) facing around all edges. The binding shall be stitch type 301 as
described in Fed. Std. No. 751 at a distance of not less than 3 mm (1/8”) and
not more than 5 mm (3/16”) from the raw edges of the binding. The stitch holes
shall be not less than 3 mm (1/8”) from the unexposed edges of the plastic. The
thread used for sewing shall be black, made of any commercially acceptable
material.
2). Type II. The plastic shall have a matte finish on one side, and
either a matte or glazed finish on the opposite side. Two sheets of plastic
shall be arranged so that both outside surfaces of the envelopes have a matte
finish. The sheets shall be sealed on two sides and one end to form an open-end
envelope. The extended portion of the back leaf shall be reinforced with
plastic for a minimum of 15 mm (9/16”) from the end of the envelope. All edges
of the reinforcing material shall be sealed. All seams at the plastic edges and
around the holes shall be securely sealed any commercially acceptable method.
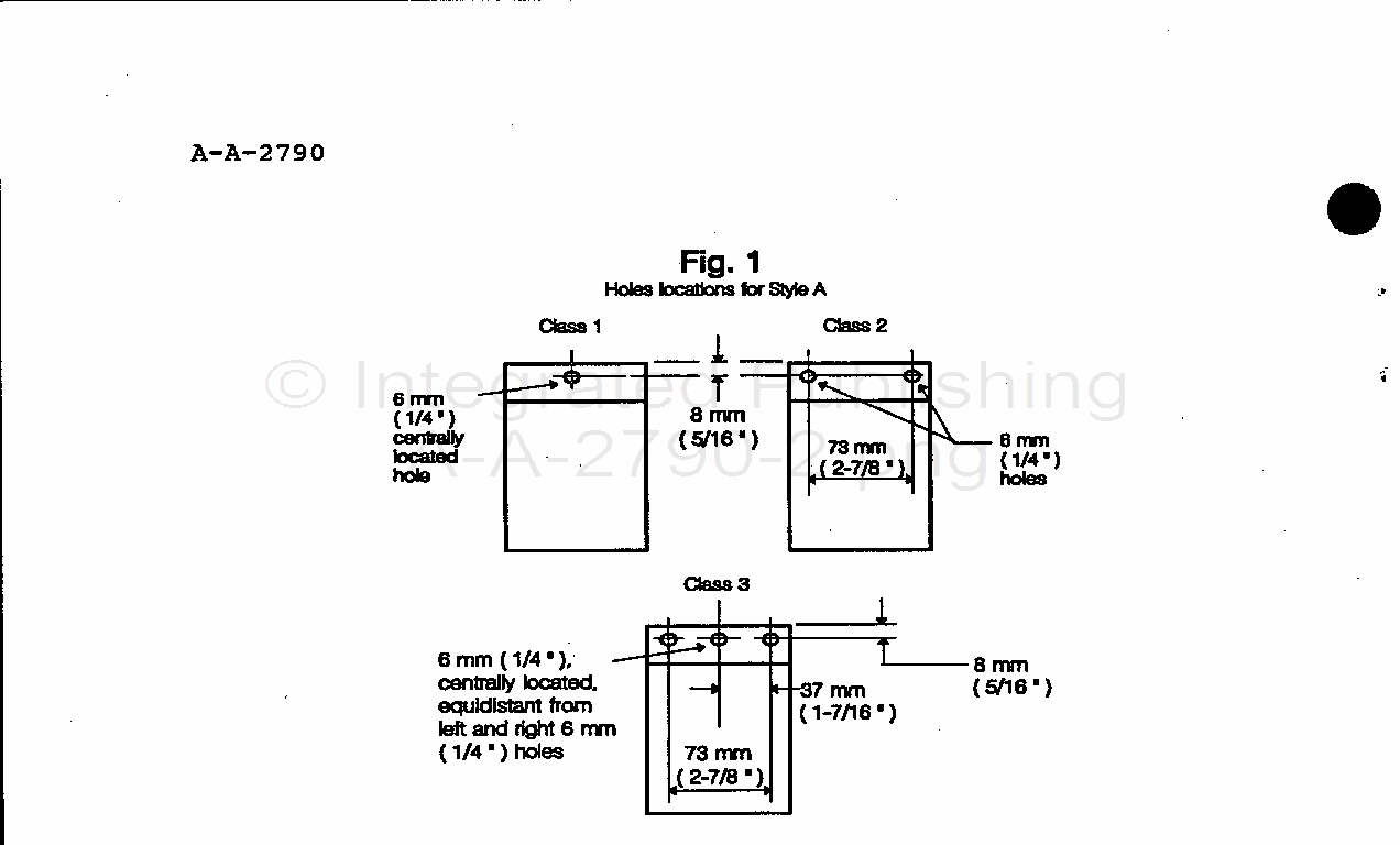
B. Dimensions. Unless otherwise specified, the dimensions shall be as listed
above, with a tolerance of ± 1.6 mm (1/16”).
For Parts Inquires call Parts Hangar, Inc (727) 493-0744
© Copyright 2015 Integrated Publishing, Inc.
A Service Disabled Veteran Owned Small Business